DEISOLUX90 — 9901570011
DELONGHI — Rangehood
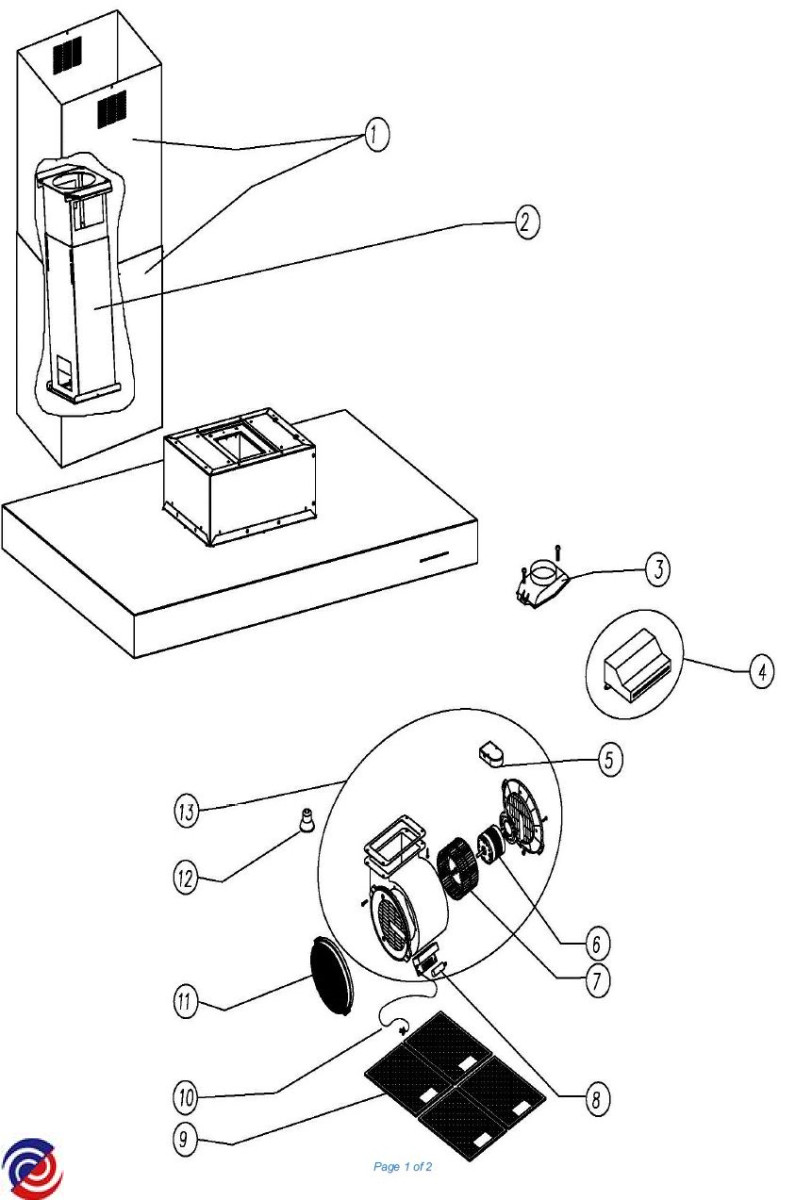
Parts for DEISOLUX90

W0273395 TA-P4 MOTOR SAT SPARE

W0281646 VL3 BUTTON BOARD ASSEMBLY SAT SPARE V0
$357.50

W0271221 HALOG. GU-10 LAMPHOLDER ASSEMBLY
$152.49

W0278506 MOTOR GROUP TURBINE SAT SPARE HOOD K HOOD
$137.10

W0278511 METAL FILTER WITH METALLIC HANDLE

W0278512 POWER WIRE WITH AUSTRALIAN PLUG
$19.60

W0278513 ACTIVE CARBON FILTER(OPTIONAL)
$106.00

W0278516 HALOGEN LAMP GU-10 230V 50W

W0300867 LOWER PRINTED STRUCTURE

W0300868 UPPER PRINTED STRUCTURE

W0305079 MOTOR GROUP

W0305098 CAPACITOR 6.5UF

W0329461 S.STEEL SYGMA LOWER+UPPER ASSEMBLY TUBE
$185.40

W0329462 ISLA ACCESSORIES BAG 150 V0
$40.40