- Home
- CHEF
- Cooker Electric
- Upright
- EBC5481W*55
EBC5481W*55
CHEF — Cooker Electric
Parts for EBC5481W*55
W0011297 BLADE FAN
W0011400 DISH GRILL ENAM SEP GRILL
$68.20

W0011404 TRAY SCONE
$19.90
W0011830 HINGE DOOR GRILL

W0011831 HINGE DOOR GRILL
W0011909 HANDLE GRILL DISH
$9.90
W0012255 ELEMENT GRILL 2200W SS321

W0012262 ELEMENT FAN RING 2200W
W0012312 CLIP KICK PANEL
W0013611 TRIM OV/DOOR AIRWASH

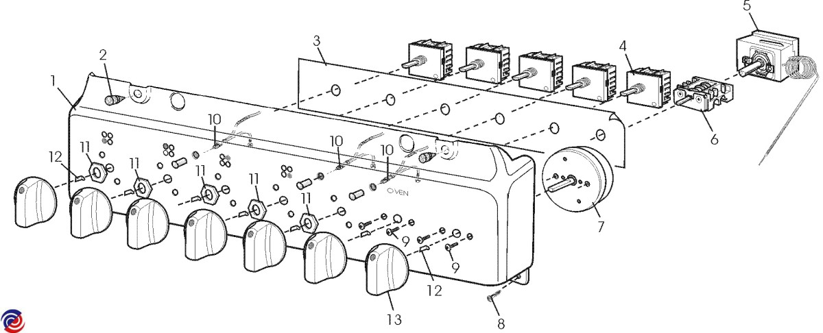
W0036947 KNOB CONTROL WHT 7803
$22.10
W0039452 DOOR OVEN INNER
W0046406 CLIP MOUNTING ELEMENT
W0046876 SUPPORT HINGE DOOR LH
W0046877 SUPPORT HINGE DOOR RH

W0050006 GASKET CAVITY OVEN
W0050403 MOTOR FAN OVEN
W0052112 GLASS OUTER OV/DOOR A/W SCR

W0053461 RACK GRILL INSERT
W0053487 SHELF OVEN 473 X 378MM
W0057166 CHEF SIMPSON WESTINGHOUSE COOKTOP CONTROL SWITCH MP101
W0057210 SWITCH AUXILIARY T/STAT
W0057771 THERMOSTAT OVEN
W0060746 TIMER 60MIN 360 ACTION PEAPSA
W0062420 LIGHT INDICATOR INC LENS

W0100889 CLIP SPRING KNOB
$9.15
W0154308 SCRAPER CERAM GLASS + 5 BLADES

W0154310 PROTECTOR CERASEAL GLASS CT
$9.90

W0154311 CLEANER CERAMIC CERAPOL 250ML
$9.90
W0166032 LAMP 25W SES E14 300C CLEAR

W0365427 SWITCH AUXILIARY T/STAT
$24.60

W0011114 TERMINAL BLOCK W/EARTH BIOS

W0011336 BRACKET INSULATION OVEN DOOR

W0011344 BRACKET STABILITY BOLT 540
$12.60

W0011416 DOOR GRILL INNER
$99.00

W0011666 COVER FAN & ELEMENT
$95.75

W0011672 PANEL KICK WHITE 540

W0011993 NUT METRIC M10 X 0.75MM
$4.50

W0012315 CLIP THERMOSTAT BIOS
$9.00

W0012558 END CAP HANDLE WHT

W0012725 SEAL CLIP GLASS OV/DOOR

W0013260 SHIELD WIRING
$11.95

W0013317 INSULATION GRILL CANOPY
$11.00

W0013730 BUMPER STOP BLK
$6.55

W0013731 BUMPER STOP GREY
$5.05

W0014018 SCREW #6 X 9.5MM PAN PHIL ZC
$4.50

W0014019 SCREW #6X3.5X28 HILO PAN PH
$4.50

W0014029 SCREW #8 X 1/2 MUSH PH#2 AB BK

W0014030 SCREW #8 X 8MM HEX/MULTI
$4.50

W0021285 LABEL DOOR GRILL
$4.50

W0021527 PANEL BASE WELDED GLOHO 540

W0023046 SPRING ELE CER GLOHO 540 EX HZ

W0035578 CLAMP GLASS DOOR

W0035788 DEFLECTOR HEAT GRILL UC20

W0036207 RACK SIDE GRILL

W0037466 PLATE ANTI TILT ASSY 540
$22.00

W0039515 PANEL OUTER OV/DOOR ENAM A/W

W0039549 DOOR GRILL OUTER
$99.90

W0039803 PANEL SIDE
$58.55

W0039903 PANEL CABINET REAR (NO HOLE)
$28.00

W0040532 PNL CNT FRONT SCR 5481 BIOS

W0040940 PANEL SPLASHBACK WHT PLAIN

W0041114 PANEL LOWER BRACE ASSY 540

W0042919 HANDLE DOOR WHT

W0043118 PANEL REFLECTOR GRILL TOP

W0044064 NUT M6 LH FAN MOTOR ECM

W0044569 FRAME FRONT
$79.20

W0044830 FLUE DUCT OVEN ELEC 540 BIOS

W0045532 BOLT STABILISING

W0046534 SLEEVE VIDAFLEX 16ID CUT 200MM

W0047144 INSULATOR SPILL/SWITCH 7 POS

W0047180 SUPPORT GRILL ELEMENT

W0047469 SCREW M4 X 5 PAN #2 PH SML HD
$4.50

W0052067 GLASS INNER OV/DOOR A/W

W0052926 SPACER FOOT UC20

W0054077 SHIELD VENT SPILLAGE GAS UC20

W0054643 INSUL GRILLCANOPY FRONT UC20

W0054645 INSULATION OVEN CABINET

W0054668 INSULATION OVEN BACK 80 BIOS

W0054962 PANEL OVEN LINING REAR

W0056177 GRILL BOX ENAM 540 BIOS

W0056283 OVEN BRACE 540 ASSY
$24.85

W0056768 LEG LEVELLING
$18.90

W0056770 FOOT LEVELLING UPRIGHT

W0062261 HOB GLASS & FRAME ASSY

W0064447 SCREW #10 X 11.5 PAN PH 'Z' P

W0064527 SCREW NO 8 X 12 MM PD
$4.50

W0064625 SCREW #8X20 TYP 17 PT TORX BLK

W0064868 WASHER 3/16 X 3/8 ALUM

W0065223 TIE CABLE
$4.50

W0065404 SCREW M5 X 16MM SS

W0065427 SCREW M5 X 9MM CSK (BLK ZC)

W0102374 INDICATOR HOTZONE GLOHO 540

W0114641 ELEM CERAM 165 DIA 1200W EGO

W0114659 ELEM CERAM 215DIA 2000W EGO

W0114680 HOLDER LAMP ASSY BIOS