- Home
- CHEF
- Cooker Electric
- Upright
- EBC5211W*32
EBC5211W*32
CHEF — Cooker Electric
Parts for EBC5211W*32
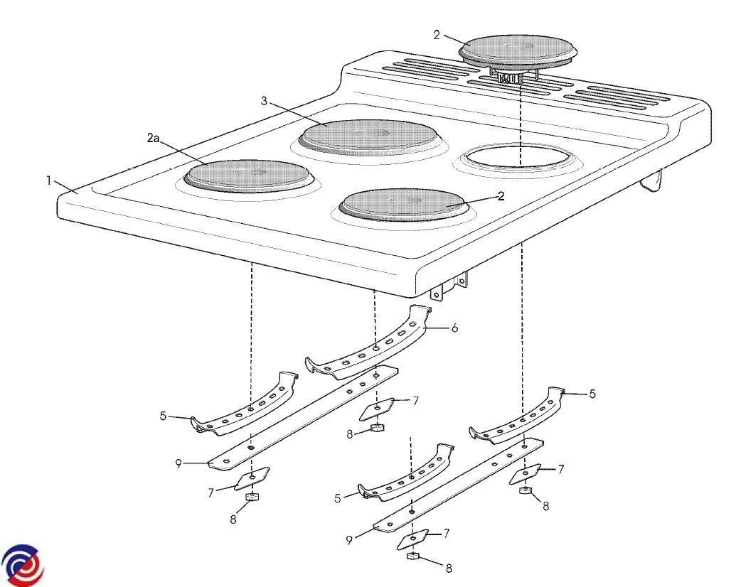
W0012254 ELEMENT C/HEAT 1800W SS321
W0012255 ELEMENT GRILL 2200W SS321
W0012259 ELEMENT EGO 2000W 180DIA (HI)
W0012260 ELEMENT EGO 1000W 145DIA (HI)
$96.00

W0046262 ELEMENT EGO 1500W 145DIA (HI)
W0046406 CLIP MOUNTING ELEMENT
W0046876 SUPPORT HINGE DOOR LH
W0046877 SUPPORT HINGE DOOR RH
W0053487 SHELF OVEN 473 X 378MM
W0057166 CHEF SIMPSON WESTINGHOUSE COOKTOP CONTROL SWITCH MP101
W0057771 THERMOSTAT OVEN
W0062420 LIGHT INDICATOR INC LENS

W0100889 CLIP SPRING KNOB
$9.15

W0011114 TERMINAL BLOCK W/EARTH BIOS

W0011334 BRACKET ASSY ELEMENT 145MM
$12.60

W0011335 BRACKET ASSY ELEMENT 180MM
$18.00

W0011344 BRACKET STABILITY BOLT 540
$12.60

W0011993 NUT METRIC M10 X 0.75MM
$4.50

W0012166 WASHER LEAF SPRING 1/4
$4.00

W0012311 CLIP KICKPLATE PANEL

W0012315 CLIP THERMOSTAT BIOS
$9.00

W0012558 END CAP HANDLE WHT

W0013260 SHIELD WIRING
$11.95

W0013568 SWITCH MULTI 3
$44.90

W0013730 BUMPER STOP BLK
$6.55

W0013731 BUMPER STOP GREY
$5.05

W0014018 SCREW #6 X 9.5MM PAN PHIL ZC
$4.50

W0014019 SCREW #6X3.5X28 HILO PAN PH
$4.50

W0014029 SCREW #8 X 1/2 MUSH PH#2 AB BK

W0014030 SCREW #8 X 8MM HEX/MULTI
$4.50

W0036213 SUPPORT ELEMENT GRILL

W0036928 KNOB CHEF ELEC WHITE 7801 UC01

W0037466 PLATE ANTI TILT ASSY 540
$22.00

W0038121 COVER CLEAN HEAT FULL GALV BIO

W0038745 BRACKET ANTI ROTATE SOLID UC20

W0038764 BRACKET INSULATION OVEN DOOR

W0039208 DISH GRILL ENAM 540 BIOS

W0039453 DOOR OVEN INNER SOLID
$189.90

W0039516 PANEL OUTER OV/DOOR SOLID A/W

W0039791 PANEL SIDE UPRIGHT BIOS MK2

W0039903 PANEL CABINET REAR (NO HOLE)
$28.00

W0040519 PNL CNT FRONT SCR GIO BIOS

W0040940 PANEL SPLASHBACK WHT PLAIN

W0041114 PANEL LOWER BRACE ASSY 540

W0041116 PANEL KICK GIO WHITE

W0042617 CHANNEL SPILL VENT 540 GIO

W0042919 HANDLE DOOR WHT

W0044565 F/FRAME ENAM 540 GIO BIOS

W0045532 BOLT STABILISING

W0047139 INSULATOR SPILL/SWITCH

W0047469 SCREW M4 X 5 PAN #2 PH SML HD
$4.50

W0050003 SEAL OVEN BIOS

W0052926 SPACER FOOT UC20

W0053490 RACK GRILL INSERT

W0053492 RACK GRILL DISH

W0054085 SHIELD WIRING HOB 540 GIO BIOS

W0054645 INSULATION OVEN CABINET

W0054646 INSULATION OVEN BACK BIOS

W0054948 OVEN ENAMEL FRM CONV N/L BIOS

W0056274 BRACE OVEN REAR 540 BIOS

W0056768 LEG LEVELLING
$18.90

W0056770 FOOT LEVELLING UPRIGHT

W0059833 DUCT GRILL 540 GIO ASSY

W0061892 HOB SOLID ENAMEL

W0064447 SCREW #10 X 11.5 PAN PH 'Z' P

W0064625 SCREW #8X20 TYP 17 PT TORX BLK

W0064868 WASHER 3/16 X 3/8 ALUM

W0065316 BUSHING SNAP BLK 22_2MM

W0065427 SCREW M5 X 9MM CSK (BLK ZC)

W0065458 NUT HEX M6
$4.50